一直以来凭借稳定的特点深受全球用户的青睐,提供美国、香港、印度和欧洲四大机房,其中最受欢迎的非BlueHost美国主机和香港主机莫属。对于新手站长来说BlueHost美国主机和香港主机如何选择成了一个难题,本篇文章就从速度方面对比评测下。
一、BlueHost美国主机速度
1、全网Ping

2、路由追踪
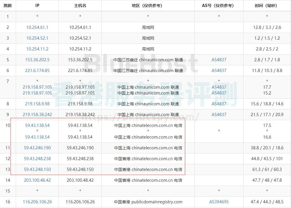
电信

联通

移动

3、直连情况

4、丢包率测试

二、BlueHost香港主机速度
1、全网Ping

2、路由追踪
电信

联通

移动

3、直连情况

4、丢包率测试

总结:以上就是和香港主机速度对比评测,外贸网站建议选择BlueHost美国主机,国内建站的话BlueHost香港主机是理想选择。最后在购买BlueHost美国主机和香港主机记得使用不但可以享受七折优惠,还赠送免费域名、免费SSL证书和网络云备份。











